數據中心模塊化最近較為熱門,筆者從一個google的集裝箱數據中心專利(其實該專利在2009年已經公開,網絡上也有不少相關圖片),以及網絡上相關Google的集裝箱數據中心的視頻,第一部分介紹了谷歌數據中心原理。下面看看配電。
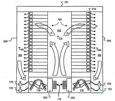
下圖是整個集裝箱的截面圖,這個圖更有助于大家看到其氣流組織,由機柜底部送出的冷量在中間的312冷池內被兩側的服務器吸入,經由服務器的風扇315吹到服務器尾側的309熱通道內,再經地板下的空調盤管116制冷后由離心風機119吹回冷通道內,形成如下A?B?C?D的整個氣流循環,氣流組織非常短,風機能耗及冷量傳遞損失都很少,效率很高。

標準集裝箱的寬度只有2.35米,考慮兩排機柜并列,還需要冷通道維護空間及兩側熱通道回風需要,這里可以推斷出google的服務器深度實際是很短的,初步估計含機柜不超過700mm。這種短寬深度的設計也非常適合于服務器散熱,較為容易實現高溫服務器的目標,據google的介紹,其冷通道送風溫度高達27度甚至更高,因此提升冷通道送風溫度的節能效果非常明顯。

下圖的空調特寫部分更為清晰展示了其原理,其中116為A字型空調盤管,122供水管和125回水管通過快接軟管連到該空調盤管上,降溫后的冷空氣由導風槽202及離心風機119甩到架空地板上的冷通道內,集裝箱內的熱量由空調冷凍水帶到集裝箱外。每個空調盤管對應三個風扇,冷卻風扇速度可變,并可以精確管理,保證風扇在能夠冷卻機架的前提下運行在最低速度。

Google集裝箱數據中心的設計著重于“電源在上,水在下”,機架從集裝箱的天花板懸掛下來,冷卻設備在機架下面,讓冷空氣通過機架。左下圖是服務器尾部的電源線連接,右下圖是服務器前部的網絡連接,但實際根據google公布的集裝箱數據中心視頻,服務器的供電和網絡接口都建設在冷通道一側,實現完全的前維護或者冷通道維護,因為服務器后面熱通道的寬度實在有限,難以進人維護,以及熱通道的溫度高達40多度,也不適合運維人員高溫操作。

據google自己公布,其IDC的PUE值從2008年第三季度的1.21下降到2008年第四季度的1.16。PUE 為 1 表示數據中心沒有能源損耗,而根據2006年的統計,一般公司數據中心的能效比為 2.0 或更高。Google 的 1.16 已經低于美國能源部2011年的1.2 的目標。Google集裝箱數據中心實現低PUE的幾個最佳實踐方法大家可以從參考資料的視頻地址中找到。
核心關注:拓步ERP系統平臺是覆蓋了眾多的業務領域、行業應用,蘊涵了豐富的ERP管理思想,集成了ERP軟件業務管理理念,功能涉及供應鏈、成本、制造、CRM、HR等眾多業務領域的管理,全面涵蓋了企業關注ERP管理系統的核心領域,是眾多中小企業信息化建設首選的ERP管理軟件信賴品牌。
轉載請注明出處:拓步ERP資訊網http://m.sdyuan.com/
本文標題:Google集裝箱數據中心制冷
























