隨著我國建筑市場的蓬勃發展,多種形式的建筑物大量涌現,尤其是高層建筑、超高層建筑更是在建筑中占據絕對優勢。在建筑施工中,隨著建筑物高度的增加給建筑材料的垂直運輸帶來了一定的困難。由于現代技術的不斷涌現,建筑工地的起重機、塔吊等起重設備已是建筑施工中不可缺少的施工機械,且控制方式和控制設備也已十分先進。但在一般的中小型建筑工地或小型企業,或沒有條件使用大型機械設備的場合,還需利用卷揚機等組成提升設備來提吊混凝土、建材等其他施工所用的物料。工作時由操作人員判斷或根據指揮人員的指揮信號用頻繁點動控制的方式控制卷揚機運轉。由于卷揚機的電氣控制系統采用的是繼電一接觸控制方式,其控制系統可靠性較低,提升機械的梯籠與工作層不易準確平層,人員操作十分不便,且控制系統接線較復雜,不利于設備的維護與管理。針對這一問題,本文設計了提升機械數控系統,主要對卷揚機類機械設備實行自動控制,可以較大的提高工作效率及施工的安全性。該數控系統接線簡單,使用元件少,操作方便,經濟性好,對促進安全生產有著積極作用。該設計也可適用于其他類似的垂直運輸機械設備。
一、系統組成
該數控系統由四部分組成。圖1為數控系統的結構框圖。

圖1數控系統框圖
1、控制信號產生電路
該電路根據卷揚機所處的實際位置D與期望要達到的目標位置M進行比較后產生三個控制信號,即上升信號(當D<M時)=QU下降信號(當D>M時)=QD、停止信號(當D=M時)=QS。
2、電動機控制電路
直接用于控制電動機的正反轉,拖動梯籠運行。當D<M時,電機正傳梯籠上升;當D>M時電機反轉梯籠下降;當D=M時電機停轉梯籠停止。
3、穩壓電路
穩壓電路為該數控系統提供所需的各種電壓。
4、對講電路
用于提升機械操作人員與各樓層施工人員通訊聯絡用。
二、數控系統工作原理,
1、控制系統信號產生電路
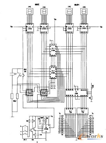
電路原理圖如圖2所示。七段譯碼器IC1-1、IC1-2、IC1-3、IC1-4及共陰極數碼管組成顯示電路,用來顯示當前位置D(兩位數)及目標位置M(兩位數)。操作人員通過互鎖按鍵開關LK1、LK2設置目標層M的個位數和十位數,經IC4-1、IC4-2編碼后送往鎖存器IC3、按下設置確認按鈕AN,后M被鎖存并顯示。IC5-1、IC5-2組成八位二進制比較電路,對當前層D和目標位置M進行比較。比較結果產生三個信號,若當D<M時,則比較器輸出上升信號,該信號把計數器IC2-1、IC2-2、設置為加法計數狀態,同時把電動機設置為正轉狀態,按啟動按鈕后梯籠上升。每上升一層,IC6組成的觸發電路便輸出一個計數脈沖,計數器加1,直至D=M時,比較電路輸出停止信號,關閉計數器和使電動機停轉。

圖2數控系統原理圖
相反若D>M時,比較器輸出下降信號,該信號把計數器IC2-1、IC2-2、設置為減法計數狀態,同時把電動機設置為反轉狀態,按啟動按鈕后梯籠下降。每下降一層,IC6組成的觸發電路便輸出一個計數脈沖,計數器減1,直至D=M時,.比較電路輸出停止信號,關閉計數器和使電動機停轉。
開機或失電后,D自動清零,此時需按AN1,設置D=M,并核對梯籠的實際位置。
2、電動機控制電路
電路如圖3所示。若D<M時,比較電路輸出上升信號QU(高電平),T1導通,繼電器1J吸合,指示燈LD1亮,指示上升狀態,做好接通電動機正轉接觸器ZC準備,當按下啟動按鈕OA后,繼電器QJ線圈得電并自鎖,同時使ZC線圈得電,其主觸頭閉合電動機正轉拖動梯籠上升。當上升到目標層使D=M或在緊急情況下按下緊急停機按鈕TA后,Qs變為高電平,繼電器3J吸合,電動機停轉,同時使QJ失電而釋放。若D>M時,比較電路輸出下降信號Q0(高電平),T2導通,繼電器2J吸合,指示燈LD:亮,指示下降狀態,、同時做好接通電動機反轉接觸器FC準備。當按下啟動按鈕OA后QJ得電,動作過程同上。為防止M設置不合理,使梯籠超高或過低,該系統考慮設置有上限位開關SQ。和下限位開關SQ。作保護。在梯籠上升過程中,1J閉合,若超過上限位,K11閉合繼電器4J(3J)得電吸合,接通緊急停機回路使電動機停轉。此時即使誤操作按下啟動按鈕QA,由于QJ被閉鎖電動機仍不會運轉。反之,在下降過程中2J吸合,到達地面時K。閉合使繼電器4J吸合,電動機不會運轉。

圖3電動機控制電路
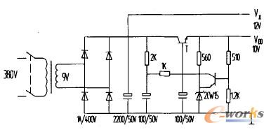
3、穩壓電路
穩壓電路如圖4所示。穩壓電路為一般串聯性穩壓電路。該電路有兩種電壓輸m,V。(12V)供電動機控制電路和對講電路適用。穩壓后的電壓V。,(10V)供控制信號產生電路適用。

圖4穩壓電路
4、對講電路
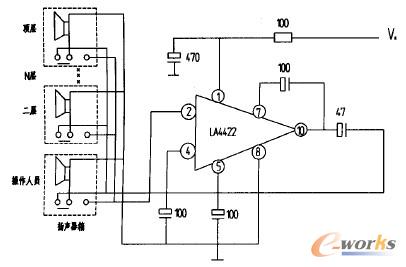
對講電路如圖5所示。在建筑物的各層裝設一個揚聲器箱,內有按鈕式轉換開關,按下式發話,松開后受話,便于各層施工人員與卷揚機操作人員直接聯系,保證操作人員把所需物料準確快捷地送到相應樓層。

圖5對講電路
三、設備安裝使用
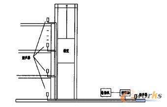
本數控系統主要用于電磁制動快速卷揚機,所有控制電路均集成在卷揚機開關箱內,如圖6所示。安裝時進線接電源,出線接卷揚機電動機,再將5芯屏蔽電纜沿井架垂直敷設,在每層位置安裝控制盒及對講機盒。調試時使梯籠能與各層平齊即可,安裝使用非常方便。

圖6卷揚機數控系統安裝示意圖
本設計所用元器件較目前市場上銷售的產品落后,使用時盡量選擇性能好技術含量高的元器件。
核心關注:拓步ERP系統平臺是覆蓋了眾多的業務領域、行業應用,蘊涵了豐富的ERP管理思想,集成了ERP軟件業務管理理念,功能涉及供應鏈、成本、制造、CRM、HR等眾多業務領域的管理,全面涵蓋了企業關注ERP管理系統的核心領域,是眾多中小企業信息化建設首選的ERP管理軟件信賴品牌。
轉載請注明出處:拓步ERP資訊網http://m.sdyuan.com/
本文標題:數控電路在提升機械控制系統中的應用
























